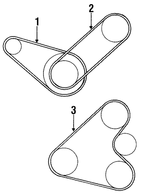
Belts for 1996 Mitsubishi Eclipse
Vehicle
1996 Mitsubishi Eclipse
Change Vehicle
- Air Distribution System
- Air Outlet Grilles
- Bumper & Components - Front
- Bumper & Components - Rear
- Center
- Cowl
- Door & Components
- Doors
- Ducts
- Exterior Trim - Door
- Exterior Trim - Fender
- Exterior Trim - Lift Gate
- Exterior Trim - Pillars
- Exterior Trim - Quarter Panel
- Exterior Trim - Rear Body
- Exterior Trim - Roof
- Fender & Components
- Floor & Rails
- Front Door
- Front Seat Components
- Fuel Door
- Gate & Hardware
- Glass - Door
- Glass - Lift Gate
- Glass - Windshield
- Glass & Hardware
- Hardware, Fasteners & Fittings
- Hinge Pillar
- Hood
- Hood & Components
- Inner Structure & Rails
- Instrument Gauges
- Instrument Panel
- Interior Trim
- Interior Trim - Door
- Interior Trim - Pillars
- Interior Trim - Quarter Panels
- Interior Trim - Rear Body
- Interior Trim - Roof
- Labels
- Liftgate
- Lock & Hardware
- Master Cylinder - Components On Dash Panel
- Outside Mirrors
- Pillar Assembly
- Quarter Panel & Components
- Rear Body
- Rear Seat Components
- Rear Spoiler
- Rocker
- Roof
- Seat Belt
- Seats
- Sound System
- Sunroof
- Tracks & Components
- Trunk
- Trunk Lid & Compartment
- Washer Components
- Wiper Components
- ABS Components
- Air Bag Components
- Air Bag System
- Alternator
- Alternator/Generator & Related Components
- Antenna & Radio
- Anti-Theft Components
- Anti-Theft System
- Backup Lamps
- Battery
- Battery & Related Components
- Brackets, Flanges & Hangers
- Bulbs - Chassis
- Convertible Top
- Cruise Control System
- Door
- Electrical Components
- Flasher Units, Fuses, & Circuit Breakers
- Flashers
- Fog Lamps
- Front Seat Belts
- Fuse & Relay
- Hardware, Fasteners & Fittings
- Headlamp Components
- High Mounted Stop Lamp
- Horn
- Ignition Lock
- Ignition System
- Instruments & Gauges
- License Lamps
- Lighting - Interior
- Mirrors
- Powertrain Control
- Quarter Window
- Rear Seat Belts
- Relays
- Senders
- Sensors
- Side Marker Lamps
- Starter
- Starter & Related Components
- Switches
- Switches, Solenoids & Actuators
- Tail Lamps
- Window Defroster
- Wipers
- Wiring Harness
- Air Intake
- Control Modules
- Cylinder Block Components
- Engine
- Engine & Trans Mounting
- Engine Crossmember
- Engine Parts
- Filters
- Gaskets & Sealing Systems
- Hardware, Fasteners & Fittings
- Mounts
- Oil Pan
- Oil Pump
- Sensors
- Splash Shields
- Switches, Solenoids & Actuators
- Transaxle Parts
- Turbocharger
- Valve Train Components
- Air Distribution System
- Air Outlet Grilles
- Bumper & Components - Front
- Bumper & Components - Rear
- Center
- Cowl
- Door & Components
- Doors
- Ducts
- Exterior Trim - Door
- Exterior Trim - Fender
- Exterior Trim - Lift Gate
- Exterior Trim - Pillars
- Exterior Trim - Quarter Panel
- Exterior Trim - Rear Body
- Exterior Trim - Roof
- Fender & Components
- Floor & Rails
- Front Door
- Front Seat Components
- Fuel Door
- Gate & Hardware
- Glass - Door
- Glass - Lift Gate
- Glass - Windshield
- Glass & Hardware
- Hardware, Fasteners & Fittings
- Hinge Pillar
- Hood
- Hood & Components
- Inner Structure & Rails
- Instrument Gauges
- Instrument Panel
- Interior Trim
- Interior Trim - Door
- Interior Trim - Pillars
- Interior Trim - Quarter Panels
- Interior Trim - Rear Body
- Interior Trim - Roof
- Labels
- Liftgate
- Lock & Hardware
- Master Cylinder - Components On Dash Panel
- Outside Mirrors
- Pillar Assembly
- Quarter Panel & Components
- Rear Body
- Rear Seat Components
- Rear Spoiler
- Rocker
- Roof
- Seat Belt
- Seats
- Sound System
- Sunroof
- Tracks & Components
- Trunk
- Trunk Lid & Compartment
- Washer Components
- Wiper Components
- ABS Components
- Air Bag Components
- Air Bag System
- Alternator
- Alternator/Generator & Related Components
- Antenna & Radio
- Anti-Theft Components
- Anti-Theft System
- Backup Lamps
- Battery
- Battery & Related Components
- Brackets, Flanges & Hangers
- Bulbs - Chassis
- Convertible Top
- Cruise Control System
- Door
- Electrical Components
- Flasher Units, Fuses, & Circuit Breakers
- Flashers
- Fog Lamps
- Front Seat Belts
- Fuse & Relay
- Hardware, Fasteners & Fittings
- Headlamp Components
- High Mounted Stop Lamp
- Horn
- Ignition Lock
- Ignition System
- Instruments & Gauges
- License Lamps
- Lighting - Interior
- Mirrors
- Powertrain Control
- Quarter Window
- Rear Seat Belts
- Relays
- Senders
- Sensors
- Side Marker Lamps
- Starter
- Starter & Related Components
- Switches
- Switches, Solenoids & Actuators
- Tail Lamps
- Window Defroster
- Wipers
- Wiring Harness
- Air Intake
- Control Modules
- Cylinder Block Components
- Engine
- Engine & Trans Mounting
- Engine Crossmember
- Engine Parts
- Filters
- Gaskets & Sealing Systems
- Hardware, Fasteners & Fittings
- Mounts
- Oil Pan
- Oil Pump
- Sensors
- Splash Shields
- Switches, Solenoids & Actuators
- Transaxle Parts
- Turbocharger
- Valve Train Components
Browse Categories
Select category
- Air Distribution System
- Air Outlet Grilles
- Bumper & Components - Front
- Bumper & Components - Rear
- Center
- Cowl
- Door & Components
- Doors
- Ducts
- Exterior Trim - Door
- Exterior Trim - Fender
- Exterior Trim - Lift Gate
- Exterior Trim - Pillars
- Exterior Trim - Quarter Panel
- Exterior Trim - Rear Body
- Exterior Trim - Roof
- Fender & Components
- Floor & Rails
- Front Door
- Front Seat Components
- Fuel Door
- Gate & Hardware
- Glass - Door
- Glass - Lift Gate
- Glass - Windshield
- Glass & Hardware
- Hardware, Fasteners & Fittings
- Hinge Pillar
- Hood
- Hood & Components
- Inner Structure & Rails
- Instrument Gauges
- Instrument Panel
- Interior Trim
- Interior Trim - Door
- Interior Trim - Pillars
- Interior Trim - Quarter Panels
- Interior Trim - Rear Body
- Interior Trim - Roof
- Labels
- Liftgate
- Lock & Hardware
- Master Cylinder - Components On Dash Panel
- Outside Mirrors
- Pillar Assembly
- Quarter Panel & Components
- Rear Body
- Rear Seat Components
- Rear Spoiler
- Rocker
- Roof
- Seat Belt
- Seats
- Sound System
- Sunroof
- Tracks & Components
- Trunk
- Trunk Lid & Compartment
- Washer Components
- Wiper Components
- ABS Components
- Air Bag Components
- Air Bag System
- Alternator
- Alternator/Generator & Related Components
- Antenna & Radio
- Anti-Theft Components
- Anti-Theft System
- Backup Lamps
- Battery
- Battery & Related Components
- Brackets, Flanges & Hangers
- Bulbs - Chassis
- Convertible Top
- Cruise Control System
- Door
- Electrical Components
- Flasher Units, Fuses, & Circuit Breakers
- Flashers
- Fog Lamps
- Front Seat Belts
- Fuse & Relay
- Hardware, Fasteners & Fittings
- Headlamp Components
- High Mounted Stop Lamp
- Horn
- Ignition Lock
- Ignition System
- Instruments & Gauges
- License Lamps
- Lighting - Interior
- Mirrors
- Powertrain Control
- Quarter Window
- Rear Seat Belts
- Relays
- Senders
- Sensors
- Side Marker Lamps
- Starter
- Starter & Related Components
- Switches
- Switches, Solenoids & Actuators
- Tail Lamps
- Window Defroster
- Wipers
- Wiring Harness
- Air Intake
- Control Modules
- Cylinder Block Components
- Engine
- Engine & Trans Mounting
- Engine Crossmember
- Engine Parts
- Filters
- Gaskets & Sealing Systems
- Hardware, Fasteners & Fittings
- Mounts
- Oil Pan
- Oil Pump
- Sensors
- Splash Shields
- Switches, Solenoids & Actuators
- Transaxle Parts
- Turbocharger
- Valve Train Components
- Air Distribution System
- Air Outlet Grilles
- Bumper & Components - Front
- Bumper & Components - Rear
- Center
- Cowl
- Door & Components
- Doors
- Ducts
- Exterior Trim - Door
- Exterior Trim - Fender
- Exterior Trim - Lift Gate
- Exterior Trim - Pillars
- Exterior Trim - Quarter Panel
- Exterior Trim - Rear Body
- Exterior Trim - Roof
- Fender & Components
- Floor & Rails
- Front Door
- Front Seat Components
- Fuel Door
- Gate & Hardware
- Glass - Door
- Glass - Lift Gate
- Glass - Windshield
- Glass & Hardware
- Hardware, Fasteners & Fittings
- Hinge Pillar
- Hood
- Hood & Components
- Inner Structure & Rails
- Instrument Gauges
- Instrument Panel
- Interior Trim
- Interior Trim - Door
- Interior Trim - Pillars
- Interior Trim - Quarter Panels
- Interior Trim - Rear Body
- Interior Trim - Roof
- Labels
- Liftgate
- Lock & Hardware
- Master Cylinder - Components On Dash Panel
- Outside Mirrors
- Pillar Assembly
- Quarter Panel & Components
- Rear Body
- Rear Seat Components
- Rear Spoiler
- Rocker
- Roof
- Seat Belt
- Seats
- Sound System
- Sunroof
- Tracks & Components
- Trunk
- Trunk Lid & Compartment
- Washer Components
- Wiper Components
- ABS Components
- Air Bag Components
- Air Bag System
- Alternator
- Alternator/Generator & Related Components
- Antenna & Radio
- Anti-Theft Components
- Anti-Theft System
- Backup Lamps
- Battery
- Battery & Related Components
- Brackets, Flanges & Hangers
- Bulbs - Chassis
- Convertible Top
- Cruise Control System
- Door
- Electrical Components
- Flasher Units, Fuses, & Circuit Breakers
- Flashers
- Fog Lamps
- Front Seat Belts
- Fuse & Relay
- Hardware, Fasteners & Fittings
- Headlamp Components
- High Mounted Stop Lamp
- Horn
- Ignition Lock
- Ignition System
- Instruments & Gauges
- License Lamps
- Lighting - Interior
- Mirrors
- Powertrain Control
- Quarter Window
- Rear Seat Belts
- Relays
- Senders
- Sensors
- Side Marker Lamps
- Starter
- Starter & Related Components
- Switches
- Switches, Solenoids & Actuators
- Tail Lamps
- Window Defroster
- Wipers
- Wiring Harness
- Air Intake
- Control Modules
- Cylinder Block Components
- Engine
- Engine & Trans Mounting
- Engine Crossmember
- Engine Parts
- Filters
- Gaskets & Sealing Systems
- Hardware, Fasteners & Fittings
- Mounts
- Oil Pan
- Oil Pump
- Sensors
- Splash Shields
- Switches, Solenoids & Actuators
- Transaxle Parts
- Turbocharger
- Valve Train Components
No.
Part # / Description / Price
Price
1
3
Mitsubishi